E-meter
The E-meter is an electronic device for displaying the electrodermal activity (EDA) of a human being. The device is used for auditing in Scientology[1] and divergent groups.[2][3] The efficacy and legitimacy of Scientology's use of the E-meter has been subject to extensive debate and litigation[4][5][6] and in accordance with a federal court order, the Church of Scientology now publishes disclaimers in its books and publications declaring that the E-meter "by itself does nothing" and that it is used specifically for spiritual purposes.[7]

Such devices have been used as a research tool in many human studies, and as one of several components of the Leonarde Keeler's polygraph (lie detector) system, which has been widely criticized as ineffective or pseudoscientific by legal experts and psychologists.[8][9]
History

Electrodermal activity (EDA) is the changing electrical charges observed on the surface of the skin. EDA meters were first developed in 1889 in Russia, and psychotherapists began using them as tools for therapy in the 1900s.[10][11][12][13][14]
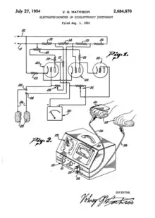
Volney Mathison built an EDA meter based on a Wheatstone bridge,[15] a vacuum tube amplifier, and a large moving-coil meter that projected an image of the needle on the wall. He patented his device in 1954 as an electropsychometer or E-meter,[16] and it came to be known as the "Mathison Electropsychometer".[17] In Mathison's words, the E-meter "has a needle that swings back and forth across a scale when a patient holds on to two electrical contacts".[16] Mathison recorded in his book, Electropsychometry, that the idea of the E-meter came to him in 1950 while listening to a lecture by L. Ron Hubbard:[18]p. 64
In 1950 ... I next attended a series of lectures being given by a very controversial figure, who several times emphasized that perhaps the major problem of psychotherapy was the difficulty of maintaining the communication of accurate or valid data from the patient to the therapist.[19] ... it appeared to me that the psychogalvanometer showed most promise.[20]
L. Ron Hubbard told of that encounter in a 1952 recorded lecture:
This machine, the electropsychometer, has been acting as a pilot since about the first of January 1952. Very early I wanted a pilot; I had to have some method of metering preclears which was not dependent at all upon opinion or judgment. And I went out and looked at the existing lie detector equipment and I could not find anything which would do a job of work. Now, Volney Mathison out on the Coast heard a talk out there one day, and I mentioned this fact. ... I had one of the fanciest electroencephalographs made and it didn’t do anything very much, police detectors didn’t do anything very much, and Mathison went to work and he floated a current within a current. This machine is relatively simple, but it's a current floating inside another current .. And I am, by the way, very much indebted to Mathison just on this basis of all of a sudden having a pilot.[21]
Mathison began working with Hubbard in 1951[22] and that year filed application for his first E-meter patent, U.S. Patent 2,684,670. After the partnership broke up in 1954, Mathison continued improving his E-meters with additional patents (U.S. Patent 2,736,313, U.S. Patent 2,810,383), marketing them through his own company and publications, retaining many of the concepts and terms from his time with Hubbard.[23]
In a separate line of development, EDA monitors were incorporated in polygraph machines by Leonarde Keeler. Rigorous testing of the polygraph has yielded mixed results (see Polygraph main page), and some critics classify polygraph operation as a pseudoscience.
Scientology


The E-meter was adopted for use in Dianetics and Scientology when Mathison collaborated with L. Ron Hubbard in 1951.[22] Some sources say the E-meter was "developed by Volney Mathison following Hubbard's designs",[24] or that Hubbard invented it.[25] Hubbard falsely claimed to be the inventor of the E-meter, a claim which is in keeping with the Scientology stance that Hubbard is the "source", or "the only originator of all Dianetics and Scientology material".[26]
The E-meter was not part of the early days of Dianetics and Scientology. Auditing was composed of conversation and not led by a mechanical device. Hubbard introduced an E-meter prototype during the 1952 Philadelphia Doctorate Course but did not introduce his transistorized version until several years later. The E-meter became "the principal material artifact" of Dianetics and Scientology from the 1960s onward.[27]
In the book, L. Ron Hubbard, Messiah or Madman?, Bent Corydon wrote:
In late 1954 the use of the E-meter was discontinued by Hubbard. Wrote Hubbard: "Yesterday, we used an instrument called an E-Meter to register whether or not the process was still getting results so that the auditor would know how long to continue it. While the E-Meter is an interesting investigation instrument and has played its part in research, it is not today used by the auditor ... As we long ago suspected, the intervention of a mechanical gadget between the auditor and the preclear had a tendency to depersonalize the session ..."[28]
Though it seemed for a while that Scientology's more advanced techniques would serve without an E-meter, a few months later in May 1955, Hubbard wrote:
And here come E-Meters back into the picture. The HASI is, at this moment, building a new and better E-Meter than has ever been built before, under the trademarked name of Physio-galvanometer, or O-Meter. It has very little in common with the old type E-Meter. Nevertheless, an old type E-Meter can be utilized.[29]
The Scientology meter was smaller, based on transistors rather than vacuum tubes, and powered by a low-voltage rechargeable battery rather than line voltage.
From then on, the E-meter was a required tool for Scientology ministers. The "Hubbard Mark II" E-meter was christened in 1960 and the Hubbard Mark III shortly after.[30] On December 6, 1966, Hubbard won a patent on the Mark V version under the name "Hubbard Electropsychometer". Corydon wrote that the Hubbard E-meter was actually developed by Scientologists Don Breeding and Joe Wallis,[28] though the patent (U.S. Patent 3,290,589) does not list other developers.
Corydon's account was said to be based on the memoirs of Hubbard's son, Ronald DeWolf, but in 1987, DeWolf sued the publisher to prevent publication and swore an affidavit repudiating everything in the book.[31]
The Scientology E-meter has been redesigned and re-patented several times since its first introduction to Dianetics (e.g.: U.S. Patent 4,459,995, U.S. Patent 4,578,635, U.S. Patent 4,702,259).
In 1969, Scientology was accepted as a religion by the Court of Appeal and declared that the E-meter was useful in "bona fide religious counseling". District Court Judge Gesell, while denying medical validity to the device, returned the e-meter to the Church. All e-meters from this point forward had to be inscribed with a disclaimer that it was not for medical or scientific diagnoses, treatment or prevention of any disease. The church reformulated the disclaimer into: "The Hubbard electrometer is a religious artifact. By itself, this meter does nothing. It is for religious use by students and Ministers of the church in Confessionals and pastoral counseling only."[32]
Modern applications

EDA meters are used in both therapist-patient[33] and bio-feedback settings.[34][35] EDA is one of the factors recorded by polygraphs, and EDA meters are often used in human studies to gauge psychological responses.[36][37][38] EDA monitoring is on the increase in clinical applications.[39] Hugo D. Critchley, Chair in Psychiatry at the Brighton and Sussex Medical School states, "EDA is a sensitive psychophysiological index of changes in autonomic sympathetic arousal that are integrated with emotional and cognitive states."[40]
Scientology
E-meters are used in Scientology and Dianetics by Scientology ministers known as "auditors". Scientology materials traditionally refer to the subject as the "preclear", although auditors continue to use the meter on subjects who are well beyond the "clear" level. The auditor gives the preclear a series of commands or questions while the preclear holds a pair of cylindrical electrodes ("cans") connected to the meter, and the auditor notes both the verbal response and the activity of the meter. Auditor training includes familiarization with a number of characteristic needle movements, each with a specific significance.[41] Religion scholar Dorthe Refslund Christensen describes the e-meter as "a technical device that could help the auditor locate engrams and areas of change when auditing a preclear".[42]
Some critics of Dianetics and Scientology assert that the Scientology concepts associated with the E-meter and its use are regarded by the scientific and medical communities as pseudoscience, and that the E-meter has never been subjected to clinical trials as a therapeutic tool.[43] Nevertheless, by 1972, more than 1500 articles on electrodermal activity (EDA) had been published in professional publications, and today EDA is regarded as a popular method for investigating human psychophysiological phenomena.[44]
Scientologists claim that in the hands of a trained operator, the meter can indicate whether a person has been relieved from the spiritual impediment of past experiences.[45] In accordance with a 1974 federal court order, the Church of Scientology asserts that the E-meter is intended for use only in church-sanctioned auditing sessions; it is not a curative or medical device.[46] The E-meters used by the Church were previously manufactured by Scientologists at their Gold Base facility,[47] but now are manufactured in Hong Kong and Taiwan.[47]
According to Hubbard, the E-meter is used by the operator for three vital functions:
- To determine what process to run and what to run it on.[48]
- To observe how well the process is running.[49]
- To know when the process should be stopped.[50]
The Church claims that the E-meter can be used to assess the emotion charge of single words, whole sentences, and questions, as well as indicating the general state of the subject when the operator is not speaking.[41] Few users of the E-meter claim that it does anything to the subject. To most, it does no more than suggest to the operator a change of mental, emotional, or parasympathetic nervous state or activity.[51][52]
New religious movement scholar Douglas Cowan writes that Scientologists cannot progress along the Bridge to Total Freedom without an E-meter, and that Hubbard even told Scientologists to buy two E-meters, in the event that one of them fails to operate.[27] According to anthropologist Roy Rappaport, the E-meter is a ritual object, an object that "stand[s] indexically for something intangible".[53]
Functional description
One of E-meter's primary components is a Wheatstone bridge, an electrical circuit configuration invented in 1833[54] that enables the detection of very small differences between two electrical impedances (in this case, resistances). The E-meter is constructed so that one resistance is the subject's body and the other is a rheostat controlled by the operator. A small voltage from the battery is applied to electrodes held in the subjects hands. As the electrical properties (electrodermal activity) of the subject's body changes during the counseling,[55][56][57] the resulting changes in the small electric current are displayed in needle movements on a large analog panel meter. The dial face is without numbers because the absolute resistance in ohms is relatively unimportant, while the operator watches primarily for characteristic needle motions.[58][59][60] The voltage applied to the electrodes is less than 1.5 V, and the electric current through the subject's body is less than a half a milliampere.[61][62]
In the Scientology E-meter, the large control, known as the "tone arm", adjusts the meter bias, while a smaller one controls the gain. The operator manipulates the tone arm to keep the needle near the center of the dial so its motion is easily observed.[63] A simple E-meter powered by direct current, such as that used by the Scientologists and the like, displays several kinds of electrodermal activity (EDA) on the one dial without distinction, including changes in conductance, resistance, and bioelectric potential. Researchers in psychophysiology are also exploring admittance and impedance aspects of EDA that can be observed only with alternating current.[64]
The E-Meter, measuring variations in electrodermal activity (which can be highly responsive to emotion[40]), functions on the same physiological data sources as one of the parts of the polygraph, or “lie detector”. According to Scientology doctrine, the resistance corresponds to the "mental mass and energy" of the subject's mind, which are claimed to change when the subject thinks of particular mental images (engrams).[65] One account tells about L. Ron Hubbard using the E-meter to determine whether or not fruits can experience pain, as in his 1968 assertion that tomatoes "scream when sliced".[66][67]
The traditional theory of EDA holds that skin resistance varies with the state of sweat glands in the skin. Sweating is controlled by the sympathetic nervous system,[68] Because sweat contains dielectrics (salt, etc.), conductivity is increased when the sweat glands are activated. But some advocates argue that the meter responds more quickly than would be possible by the exudation and drying of sweat.[69][70][71] They propose an additional mechanism termed the "Tarchanoff Response" through which the cerebral cortex of the brain affects the current directly.[72] This phenomenon is not completely understood, and further research needs to be performed.[73][44]
Law
United States
The medical establishment had been watching Hubbard's enterprises since 1951 when the New Jersey State Board of Medical Examiners prosecuted the Hubbard Dianetic Research Foundation (Elizabeth, New Jersey) for practicing medicine without a license.[74] In 1958, the Food and Drug Administration (FDA) seized and destroyed 21,000 Dianazene tablets from Hubbard's Distribution Center, Inc., charging that they were falsely labeled as a treatment for radiation sickness.[75][76][77]
On January 4, 1963, in service of an FDA complaint, more than 100 US marshals and deputized longshoremen with drawn guns[78] raided the Founding Church of Scientology in Washington, D.C. and confiscated more than three tons of property[18]p. 135 including 5,000 books, 2,900 booklets, and several hundred E-meters.[4]:1151[79] The FDA accused the Church of making false medical claims that the E-meters could treat physical and mental illnesses. The FDA also charged that the meters did not bear adequate directions for treating the conditions for which they were recommended.[80][81]
The Church claimed that they had not written any publication that the E-meter could or would heal anything,[18]p. 136 and sued to get the property back. Years of litigation ensued. In the first trial beginning on April 3, 1967, the jury found that the Church misrepresented the E-meter and the judge ordered the confiscated materials destroyed.[18][82] But in 1969, the US Court of Appeals reversed the verdict; the Church, it said, had made substantial showing that Scientology is a religion and the government had done nothing to rebut the claim.[82] The US Court of Appeals wrote:
[The Founding Church has] made no attempt to contradict the expert testimony introduced by the Government. They have conceded that the E-meter is of no use in the diagnosis or treatment of disease as such, and have argued that it was never put forward as having such use. Auditing or processing, in their view, treats the spirit of man, not his body, though through the healing of the spirit the body can be affected. They have culled from their literature numerous statements disclaiming any intent to treat disease and recommending that Scientology practitioners send those under their care to doctors when organic defects may be found. They have introduced through testimony a document which they assert all those who undergo auditing or processing must sign which states that Scientology is "a spiritual and religious guide intended to make persons more aware of themselves as spiritual beings, and not treating or diagnosing human ailments of body or mind, and not engaged in the teaching of medical arts or sciences * * *."
Finally, with respect to their claim to be a religion and hence within the protection of the First Amendment, they have shown that the Founding Church of Scientology is incorporated as a church in the District of Columbia, and that its ministers are qualified to perform marriages and burials. They have introduced their Creed into evidence. The Government has made no claim that the Founding Church is not a bona fide religion, that auditing is not part of the exercise of that religion, or that the theory of auditing is not a doctrine of that religion.[4]
Having found that Scientology was a religion, the Court wrote that the government was forbidden by the First Amendment of the Constitution to rule on the truth or falsity of the Church's doctrines and interfere with its practices, provided the claims are not manifestly insincere and the practices are reasonably harmless.[4] The Court ordered a new trial with the mandate that the trial court could not forbid auditing, use of the E-meter, or purveyance of the literature within a religious context.[83][84] The FDA appealed the decision, but in 1969, the US Supreme Court declined to review the case, commenting only that "Scientology meets the prima facie test of religion".[85] In his 1973 judgment, District Court Judge Gerhard Gesell ruled that:
Hubbard and his fellow Scientologists developed the notion of using an E-Meter to aid auditing. Substantial fees were charged for the meter and for auditing sessions using the meter. They repeatedly and explicitly represented that such auditing effectuated cures of many physical and mental illnesses. An individual processed with the aid of the E-Meter was said to reach the intended goal of 'clear' and was led to believe that there was reliable scientific proof that once cleared many, indeed most, illnesses would successfully be cured. Auditing was guaranteed to be successful. All this was and is false.[86]
Unable to do more under the mandate from the Court of Appeals, Judge Gesell ordered all the property to be returned to the Church, and thereafter, the E-meter may be used only in "bona fide religious counseling". All meters and referring literature must include a label disclaiming any medical benefits:
The E-Meter is not medically or scientifically useful for the diagnosis, treatment or prevention of any disease. It is not medically or scientifically capable of improving the health or bodily functions of anyone.[5]
The church adopted a modified version of that statement, which it still invokes in connection with the E-meter. The current statement reads:
The Hubbard Electrometer is a religious artifact. By itself, this meter does nothing. It is for religious use by students and Ministers of the church in Confessionals and pastoral counseling only.[87]
Judge Gesell also ordered the Church to pay all the government's legal fees and warehousing costs for the confiscated property for the nine years of litigation. He also required the church to pay the salaries and travel expenses of FDA agents who might, from time to time, inspect for compliance with the court's order.[18]p. 143 The raid was ruled illegal, but the government retained copies of the documents.[78]
Europe
In 1979 in Sweden, a court forbade calling the E-meter "an invaluable aid to measuring man's mental state and changes in it" in an advertisement. The prohibition was upheld by the European Commission of Human Rights in case X. and Church of Scientology v. Sweden.
In October 2009, a three-judge panel at the Correctional Court in Paris, France convicted the church and six of its members of organized fraud.[88] The Court's decision followed a three-week trial, where two plaintiffs alleged they were defrauded by the organization. One plaintiff's complaint involved the use of an E-Meter by Scientologists with medical implications. This plaintiff claimed that, after being audited with the device, she was encouraged to pay tens of thousands of euros for vitamins, books, and courses to improve her condition. She argued that amounted to fraud. The Court agreed, and the ruling was upheld on appeal in 2013.[89] See Scientology in France § Conviction for fraud.
Australia
In 1964, the government of Victoria, Australia held a Board of Inquiry into Scientology which returned its findings in a document colloquially known as the Anderson Report. Psychiatrist Ian Holland Martin, honorary federal secretary of the Australian and New Zealand College of Psychiatrists, gave evidence that the E-Meter "used for Scientology" was a "psycho-galvano-meter" and was "dangerous in unqualified hands".[6] He said that if the E-meter "was suggested to possess mysterious powers" to someone who did not understand that it had "been thoroughly discredited as a lie detector" then "that person would be suggestible to ideas foisted on him by the operator".[6] The final report of the inquiry stated that the E-meter enabled Scientology
to assume, intensify and retain control over the minds and wills of preclears. Fears of its abilities keep them in constant subjection. Its use can be so manipulated by cunningly phrased questions that almost any desired result can be obtained, and it is used unscrupulously to dominate students and staff alike. All the evil features of scientology are intensified where the E-meter is involved. When used in conjunction with hypnotic techniques, its evil impact is greatly increased. This simple electrical device is not, of course, the sole basis for the condemnation of scientology, but without the E-meter scientology would be partly disarmed.[90]
In 1965, Victoria banned the use of the E-meter without a license, with Western Australia and South Australia following suit. In 1969, the High Court of Western Australia ruled the ban illegal. South Australia repealed its law in 1973, and Victoria repealed it in 1982. In 1983, the High Court of Australia ruled that Scientology was a religion, and as such had the same rights and protections.[91]
Scientology beliefs and theories
Within the Church of Scientology, the early psychoanalysts are credited with first use of the E-meter.
Bob Thomas, senior executive of the Church of Scientology in the United States, described the E-meter ... "Some very early work on this was done by Jung, who used a list of words. I think he combined it with the psycho-galvanometer. By this word association, he was attempting to increase the effectiveness of the free association techniques, which he was not sure about."[18]p. 62-64
L. Ron Hubbard credited Mathison with recreating the E-meter and bringing the first model to Hubbard for use in Dianetics.[92] Hubbard set out his theory of how the E-meter works in his book Understanding the E-Meter:
For the meter to be read, the tiny flow of electrical energy through the preclear (person) has to remain steady. When this tiny flow is changed the needle of the E-Meter moves. This will happen if the preclear pulls in or releases mental mass. This mental mass (condensed energy), acts as an additional resistance or lack of resistance to the flow of electrical energy from the E-Meter.
Hubbard claimed that this "mental mass" has the same physical characteristics, including weight, as mass as commonly understood by lay persons:
In Scientology it has been discovered that mental energy is simply a finer, higher level of physical energy. The test of this is conclusive in that a thetan "mocking up" (creating) mental image pictures and thrusting them into the body can increase the body mass and by casting them away again can decrease the body mass. This test has actually been made and an increase of as much as thirty pounds, actually measured on scales, has been added to, and subtracted from, a body by creating "mental energy". Energy is energy. Matter is condensed energy.
This text in Understanding the E-Meter is accompanied by three drawings. The first shows a man standing on a weighing scale, which reflects a weight of "150" (the units are not given). The next shows the man on the same scale, weighed down under a burden of "Mental Image Pictures", and the scale indicates a weight of "180". The last picture shows the man standing upright on the scale, now unburdened by "Mental Image Pictures" and with a smile on his face, while the scale again indicates a weight of "148".
Bob Thomas, senior executive of the church in the early 1970s, gave a prosaic description.
The immediate goal of the E-meter is to enhance communication. In other words, just to take a parallel: if an analyst were allowing his patient to free-associate, and the patient were connected in some way with a galvanometer which showed the analyst what things the patient mentioned were emotionally charged and what things were not emotionally charged, a lot of time would be saved. So it's simply an assist for the practitioner to direct the individual to areas which he himself may not realize are troubled or charged with emotion or are repressed; and to better direct his attention into those areas ... The E-meter is a simple psycho-galvanometer. It's got some increased sensitivity built into it and the myological reactions that you sometimes get in the galvanometer have been damped out by the circuitry, so that the mental reactions, the reactions of the spirit, on the body are emphasized and can be read more clearly. But that's simply the design of the circuitry; it doesn't basically affect the kind of device. It registers what is called, commonly, the psychogalvanomic reflex, which is a reflex that is a poorly understood mechanism of the psyche. The body resistance seems to vary when the individual thinks of a painful or pain-associated or traumatic-associated concept, or word or idea. ... Some very early work was done on this by Jung ...[18]p. 62-64
References
- America's Alternative Religions, by Timothy Miller, 1995, ISBN 0-7914-2398-0;page 386
- "About Us". Observation Mountain Academy. Observation Mountain Academy. Archived from the original on 4 April 2015. Retrieved 2 April 2015.
- "e-meter". Ron's Org Grenchen. Ron's Org Grenchen. 2015. Archived from the original on 3 April 2015. Retrieved 2 April 2015.
- Wright, Skelley (February 5, 1969). "Opinion". Washington, D.C.: United States Court of Appeals for the District of Columbia. p. 1154. Retrieved 10 April 2015.
- "Court Order - FDA - Scientology Dianetics Hubbard E-meter". Scribd.com. 2008-08-25. Retrieved 2012-06-03.
- "SCIENTOLOGY VENUS TRIP 'A DELUSION'". The Canberra Times. 2 June 1964. p. 27. Retrieved 13 August 2013 – via National Library of Australia.
- Touretzky, Dave. "Inside the Mark Super VII". Secrets of Scientology. Retrieved 5 January 2016.
- "Scientific Validity of Polygraph Testing: A Research Review and Evaluation". Washington, D. C.: U.S. Congress Office of Technology Assessment. 1983. Retrieved 27 July 2017.
- "Monitor on Psychology – The polygraph in doubt". American Psychological Association. July 2004. Retrieved 27 July 2017.
- Daniels, Victor. "Notes on Carl Gustav Jung". Sonoma State University. Sonoma State University. Retrieved 4 April 2015.
By 1906 [Jung] was using GSR and breath measurement to note changes in respiration and skin resistance to emotionally charged worlds. Found that indicators cluster around stimulus words which indicate the nature of the subject's complexes...Much later L. Ron Hubbard used this approach in Scientology's "auditing", using the "e-meter" (a galvanic skin response indicator) to discern the presence of complexes.
- Binswanger, L. (1919). "XII". In Jung, Carl (ed.). Studies in Word-Association. New York, NY: Moffat, Yard & company. pp. 446 et seq. Retrieved 30 March 2015.
- Anderson, Kevin. "Report of the Board of Enquiry into Scientology" (PDF). ApologeticsIndex. Apologetics Index (TM). p. 128. Retrieved 2 April 2015.
The E-meter is not a new type of instrument. It is one which is well known to science and has been in use in one form or another for many years. As early as the 1920s, experiments were conducted in psychological research with what was then called an electro-galvanometer or psychogalvanometer.
- Atack, Jon. "Possible origins for Dianetics and Scientology". Scientology 101. Retrieved 2 April 2015.
Some form of 'E-meter' has actually been in use since before WWI
- "You can learn control of how your skin talks". San Bernardino, California: The San Bernardino County Sun. The San Bernardino County Sun. October 11, 1977. p. 12. Retrieved 8 April 2015.
Current research using the skin's electrical activity as a communications medium between patient and therapist looks promising in such stress problems as drug abuse, alcoholism, neuroses and other tension states.
- "Technically it is a specially developed 'Wheatstone Bridge' well known to electrically minded people as a device to measure the amount of resistance to a flow of electricity", L. R. Hubbard, in: "The Book Introducing the E-Meter", page 1. Quoted in: Kotzé report, The Report of the Commission of Enquiry into Scientology, 1972, Republic of South Africa. Section III, Chapter 8
- Singh, Simon; Edzard Ernst (2008). Trick or Treatment: The Undeniable Facts about Alternative Medicine. W. W. Norton & Company. pp. 163–65. ISBN 978-0-393-06661-6.
- Freeman, John (1987). Suppressed and Incredible Inventions. Health Research. p. 41. ISBN 978-0-7873-1091-2.
- Garrison, Omar V. (1974). The Hidden Story of Scientology. Secaucus, New Jersey: The Citadel Press. ISBN 978-0-8065-0440-7.
- Mathison, Volney (1952). Electropsychometry (PDF) (1 ed.). Los Angeles: Mathison Electropsychometers. p. 101. Retrieved 11 May 2015.
- Mathison, Volney G. (1954). Electropsychometry (PDF) (4 ed.). Los Angeles: Mathison Psychometers. pp. 101–104.
- Hubbard, L. Ron (1952). Taped Lecture: How to Audit a Theta Line, Parts I and II (PDF). Church of Scientology. Archived from the original (PDF) on 2015-01-22. Retrieved 2015-06-10.
- "Remember Venus?". TIME. 1952-12-22. Retrieved 2008-01-28.
- Mathison, Volney (1952). Electropsychometry (4 ed.). Los Angeles: Mathison Electropsychometers. p. 1. Retrieved 12 May 2015.
- Melton, J. Gordon (2000). Studies in Contemporary Religion: The Church of Scientology. United States of America: Signature Books, Inc. p. 10. ISBN 978-1-56085-139-4.
- Barrett, Stephen; Wallace, Janssen, eds. (1993). "The Gadgeteers". The Health Robbers. A Close Look at Quackery in America. Prometheus Books, Buffalo NY. pp. 321–335. ISBN 978-0-87975-855-4.
- Christensen, Dorthe Refslund (June 24, 2016). "Rethinking Scientology A Thorough Analysis of L. Ron Hubbard's Formulation of Therapy and Religion in Dianetics and Scientology, 1950–1986". Alternative Spirituality and Religion Review. 7: 155–227. doi:10.5840/asrr201662323.
- Cowan, Douglas E. (2014). "Acta Comparanda, French". Clearly Material: Objects, Meaning, and the Ongoing Construction of New Religious Reality. International Conference – Scientology in a scholarly perspective 24-25th January 2014. Antwerp, Belgium: University of Antwerp, Faculty for Comparative Study of Religions and Humanism. Archived from the original on 2017-02-16.
- Corydon, Bent (1987). Messiah or Madman. Lyle Stuart. p. 313.
- Hubbard, L. Ron (13 May 1955). Professional Auditor's Bulletin No. 52. London, UK: Hubbard Communication Office. p. 1. ISBN 978-87-87347-82-2.
- Grant, Boyd (2014). What is Scientology? History, Beliefs, Rules, Secrets, and Facts (1 ed.). Newark, Delaware: Speedy Publishing. p. 5.
- Affidavit submitted by DeWolf to a notary in Nevada
- Bigliardi, Stefano (2016). "New Religious Movements, Technology, and Science: The Conceptualization of the E-meter in Scientology Teachings". Zygon. 51 (3): 668. doi:10.1111/zygo.12281.
- Shapiro, David A.; Shapiro, Diana (November 1982). "Meta-analysis of comparative therapy outcome studies: A replication and refinement". Psychological Bulletin. American Psychological Association. 92 (3): 581–604. doi:10.1037/0033-2909.92.3.581. PMID 7156259.
- Nagai, Yoko; Goldstein, Laura H.; Fenwick, Peter B.C.; Trimblea, Michael R. (April 2004). "Clinical efficacy of galvanic skin response biofeedback training in reducing seizures in adult epilepsy: a preliminary randomized controlled study". Epilepsy & Behavior. Elsevier. 5 (2): 216–223. doi:10.1016/j.yebeh.2003.12.003. PMID 15123023. S2CID 23077324.
Biofeedback training significantly reduced seizure frequency in the active biofeedback group
- "Biofeedback, Galvanic skin response (GSH) or Electrodermal Response, Types of Biofeedback Machines or Biofeedback Techniques<". Holisticonline.com. ICBS, Inc. 1 January 2004. Retrieved 8 April 2015.
- Caprara, H. John; Eleazer, Paul D.; Barfield, Robert D.; Chavers, Scott (16 December 2005). "Objective Measurement of Patient's Dental Anxiety by Galvanic Skin Reaction". Journal of Endodontics. Elsevier Inc. 29 (8): 493–496. doi:10.1097/00004770-200308000-00001. PMID 12929693. Retrieved 9 April 2015.
A statistically significant correlation was found between skin conductance and dental anxiety in all cases.
- Vanderark, Sherman D.; Ely, Daniel (1992). "Biochemical and Galvanic Skin Responses to Music Stimuli by College Students in Biology and Music". Perceptual and Motor Skills. Ammons Scientific. 74 (3_suppl): 1079–1090. doi:10.2466/pms.1992.74.3c.1079. PMID 1501973. S2CID 23923608.
- Rankin, Robert E.; Campbell, Donald T., Donald T. (July 1955). "Galvanic skin response to Negro and white experimenters". The Journal of Abnormal and Social Psychology. American Psychological Association. 51 (1): 30–33. doi:10.1037/h0041539. PMID 13242282.
- Ogorevc, Jaka; Geršak, Gregor; Novak, Domen; Drnovšek, Janko (November 2013). "Metrological evaluation of skin conductance measurements". Measurement. 46 (9): 2993–3001. doi:10.1016/j.measurement.2013.06.024.
- Critchley, Hugo D. (April 2002). "Book Review: Electrodermal Responses: What Happens in the Brain". Neuroscientist. 8 (2): 132–142. doi:10.1177/107385840200800209. PMID 11954558. S2CID 146232135.
- "How the E-Meter works, Church of Scientology International". Scientology.org. Retrieved 2012-06-03.
- Christensen, Dorthe Refslund (June 24, 2016). "Rethinking Scientology A Thorough Analysis of L. Ron Hubbard's Formulation of Therapy and Religion in Dianetics and Scientology, 1950–1986". Alternative Spirituality and Religion Review. 7: 155–227. doi:10.5840/asrr201662323.
- "Inside Scientology Reaching for the Stars". Nightline. 23 October 2009. ABC.
- Boucsein, Wolfram (2012). Electrodermal Activity. Springer Science & Business Media. p. 7. ISBN 9781461411260. Retrieved 10 April 2015.
- Yearbook of the European Convention on Human Rights by the European Court of Human Rights, ISBN 90-247-2383-3
- Religionsfreiheit und Konformismus: Über Minderheiten und die Macht der Mehrheit, Gerhard Besier, 2004. ISBN 3-8258-7654-3
- "A Place called Gold, St. Petersburg Times, 1998". Sptimes.com. 1998-10-25. Retrieved 2012-06-03.
- Hubbard, L Ron (27 May 1970). "Unreading Questions and Items". HCO Bulletin.
- Hubbard, L Ron (18 February 1961). "SOP Goals". HCO Bulletin.
- Hubbard, L Ron (20 February 1970). "Floating Needles and End Phenomena". HCO Bulletin.
- Lebron, Robyn (13 Jan 2012). Searching for Spiritual Unity... Can There Be Common Ground?. CrossBooks. p. 549. ISBN 9781462719525. Retrieved 2 April 2015.
- Cavanaugh, Jeanne (April 27, 2004). Scientology and the FDA: A Look Back, A Modern Analysis, And A New Approach. Boston: Harvard University. Retrieved 2 April 2015.
As described, Scientology does not assert that the E-meter can directly cure or mitigate disease; rather, the E-meter plays a vital role in the allegedly illness-alleviating process of auditing by identifying the presence and location of the cause of psychosomatic illnesses. Other systems work to actually accomplish the discharge of illness-causing agents.
- Lewis, James R. (2008). Lewis, James R. (ed.). The Oxford Handbook of New Religious Movements. 1. OUP USA. ISBN 9780195369649.
- "The Genesis of the Wheatstone Bridge" by Stig Ekelof discusses Christie's and Wheatstone's contributions, and why the bridge carries Wheatstone's name. Published in "Engineering Science and Education Journal", volume 10, no 1, February 2001, pages 37-40.
- HCO WW Staff: Essential Information Every Scientologist Should Know, HCO Information Letter of 24 November 1963. Hubbard Communications Office, East Grinstead, Sussex, England. Quoted in: Kotzé report, The Report of the Commission of Enquiry into Scientology, 1972, Republic of South Africa. Section III, Chapter 8
- Hubbard, L. Ron (1982). Understanding the E-Meter. Bridge Publications. ISBN 978-0-88404-078-1.
- Brown, Barbara (November 9, 1977). "Skin Talks -- And It May Not Be Saying What You Want To". Pocatello, Idaho: Field Enterprises, Inc. Idaho State Journal. p. 32. Retrieved 8 April 2015.
- Hubbard, Lafayette (1982). "Understanding the E-Meter" (PDF). The Starlight Meter. Retrieved 31 March 2015.
- "How the E-Meter Works". Church of Scientology International. Church of Scientology International. Retrieved 8 April 2015.
- Shepherd, Peter (2001). "The GSR Meter Course" (PDF). Tools for Transformation. Trans4Mind Ltd. p. 23. Retrieved 8 April 2015.
- "How the E-Meter Works". Scientology. Church of Scientology International. Retrieved 4 April 2015.
- Shepherd, Peter (2001). "The GSR Meter Course" (PDF). Tools for Transformation. Trans4Mind Ltd. p. 10. Retrieved 8 April 2015.
- Hubbard, Lafayette. The Book of E-meter Drills (PDF). p. 11. Retrieved 8 April 2015.
- Boucsein, Wolfram (2012). Electrodermal Activity. Springer Science & Business Media. p. 2. ISBN 9781461411260.
- "Official Scientology page on the E-meter". Scientology.org. Retrieved 2012-06-03.
- "30 Dumb Inventions". Life. 1968-01-01. Retrieved 2009-10-28.
- "Scientology Mythbusting with Jon Atack: The Tomato Photo!". tonyortega.org. 2013-02-02. Retrieved 2013-02-10.
- Martini, Frederic; Bartholomew, Edwin (2001). Essentials of Anatomy & Physiology. San Francisco, CA: Benjamin Cummings. p. 263. ISBN 978-0-13-061567-1.
- Article Skin conductance, main page: "Lastly, galvanic skin responses are delayed 1–3 seconds."
- Hubbard, Lafayette. The Book of E-meter Drills (PDF). p. 27. Retrieved 8 April 2015.
An Instant Read. An instant read is defined as that reaction of the needle which occurs at the precise end of any major thought voiced by the auditor. (quoting HCO B May 25, 1962)
- Shepherd, Peter (18 July 2001). "The GSR Meter Course" (PDF). Tools for Transformation. Trans4Mind Ltd. p. 20. Retrieved 9 April 2015.
The GSR Meter helps the Practitioner to discover these key items, since when one's attention is drawn to an item, the charge on the item will cause an increase in brain arousal, which is visible on the GSR Meter as a sudden fall in body resistance, i.e. an instantaneous fall of the needle.
- Shepherd, Peter (2001-07-18). "The GSR Meter Course" (PDF). Tools for Transformation. Trans4Mind Ltd. p. 4. Retrieved 9 April 2015.
- Brown, Barbara (November 9, 1977). "Skin Talks – And It May Not Be Saying What You Want To". Pocatello, Idaho: Field Enterprises, Inc. Idaho State Journal. p. 32. Retrieved 8 April 2015.
Carl Jung, possibly the most creative psychologist who ever lived, experimented with skin talk in 1900. Using a primitive instrument to record changes in skin electrical activity, he conducted psychological interviews with patients and found that the skin responded to hidden emotions. It is said he was so astounded by this phenomenon that he exclaimed, 'Aha, a looking glass into the unconscious!'
- Bulletin of the Hubbard Dianetic Research Foundation, Elizabeth, New Jersey. January 1951
- Atack, Jon (1990). A Piece of Blue Sky. New York: Carol Publishing Group. ISBN 978-0-8184-0499-3.
- Wallis, Roy. Sectarianism: Analyses of Religious and Non-Religious Sects, Page 92, 1975, ISBN 0-470-91910-8
- Miller, Russell (1987). Bare-faced Messiah, The True Story of L. Ron Hubbard (First American ed.). New York: Henry Holt & Co. pp. 227–228. ISBN 978-0-8050-0654-4.
- Lewis, James R. (2009). Scientology. Oxford, United Kingdom: Oxford University Press. pp. Introduction: 5. ISBN 9780199887118.
- "The Battle Mounts – Those Who Oppose Scientology". Those Who Oppose Scientology. Church of Scientology International. Retrieved 10 April 2015.
- Christopher Riche Evans (1974). Cults of Unreason. Farrar, Straus and Giroux. ISBN 978-0-374-13324-5. Chapter 6.
- Russell Miller (1987). "15. Visits To Heaven". Bare-Faced Messiah: The true story of L. Ron Hubbard. Key Porter Books. ISBN 978-1-55013-027-0.
- Heins, Marjorie (1982). "Other People's Faiths: The Scientology Litigation and the Justiciability of Religious Fraud" (PDF). Hastings Constitutional Law Quarterly. 9 (1): 170. Archived from the original (PDF) on 24 September 2015. Retrieved 9 April 2015.
- Heins, Marjorie (1982). ""Other People's Faiths": The Scientology Litigation and the Justiciability of Religious Fraud" (PDF). Hastings Constitutional Law Quarterly. 9 (1): 171. Archived from the original (PDF) on 24 September 2015. Retrieved 9 April 2015.
- Malko, George (1970). Scientology: The Now Religion. New York: Dell/Delacorte Press. pp. Chapter 4. ISBN 978-1112963735.
... the U.S. Court of Appeals ... reversed the decision of the federal jury and stated that until the government can offer proof that Scientology is not a religion, the E-Meters and the literature seized are protected by our rights of freedom of worship.
- Heins, Marjorie (1982). "Other People's Faiths: The Scientology Litigation and the Justiciability of Religious Fraud" (PDF). Hastings Constitutional Law Quarterly. 9 (1): 175, fn. 116. Archived from the original (PDF) on 24 September 2015. Retrieved 9 April 2015.
- Secrets of Scientology: The E-Meter REFERENCE: Stephen Barrett, MD, and William Jarvis, PhD (editors), "The Health Robbers", Prometheus Books, Buffalo NY (1993). Chapter 23, "The Gadgeteers", by Wallace Janssen, pp. 321-335.
- Dianetics: self-improvement home study course, Bridge Publications, 2002.
- "French court convicts Church of Scientology of fraud". CNN. 27 October 2009. Retrieved 23 July 2018.
- AFP (17 October 2013). "Scientology's fraud conviction upheld in France". The Telegraph. Retrieved 29 March 2014.
- State of Victoria (1965). Report of the Board of Inquiry into Scientology p. 96
- Lewis, James R. (2009). Scientology. Oxford, United Kingdom: Oxford University Press. pp. Introduction: 5, 6. ISBN 9780199887118. Retrieved 14 April 2015.
- Hubbard, L. Ron (19 July 1962). Taped Lecture 6207C19 SHSBC-191: The E-Meter. East Grinstead, England: Church of Scientology, St. Hill Organization. Archived from the original on 22 January 2015. Retrieved 10 June 2015.
External links
| Wikimedia Commons has media related to E-meters. |
- Scientology Today: What is the E-Meter and how does it work?, official Church of Scientology description
- Secrets of Scientology: The E-Meter, by David S. Touretzky
- E-Meter US Patent, filed by the Church of Spiritual Technology on May 9, 1996 and published January 4, 2000
- "New Religious Movements, Technology, and Science: The Conceptualization of the E-Meter in Scientology Teachings" Zygon: Journal of Religion and Science 51 (3):661-683 (2016), a thorough historical and critical study by scholar Stefano Bigliardi.